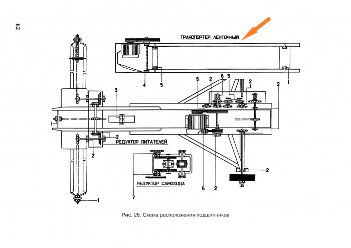
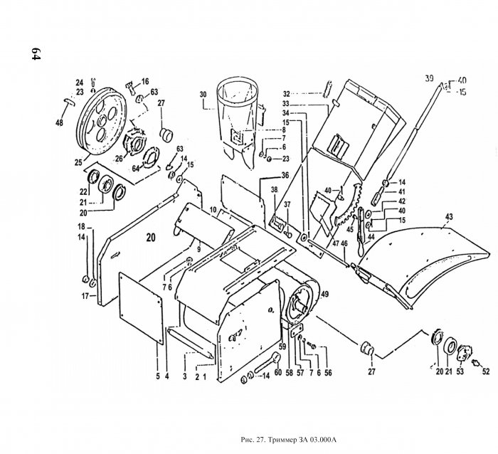
Запасные части к зернометателям ЗПС-100 и ЗМ-60 в Нижнем Новгороде
Представительства по России
Представительства по России
Цель нашей компании —
предложение широкого ассортимента товаров и услуг на постоянно высоком качестве обслуживания.
предложение широкого ассортимента товаров и услуг на постоянно высоком качестве обслуживания.
